SERVICE

事業案内

HOME | システム開発 | Google AppSheet | 電子帳簿保存対応

電子帳簿等保存制度

電子帳簿等保存制度って、そもそも何?

会計ソフトを使って作成した帳簿をそのままデータ保存しておく方法や、紙で受け取った 請求書をスマホで読み取って保存しておく⽅法などを定めた法律(通称「電⼦帳簿保存法」、略して 「電帳法(でんちょうほう)」)に基づく制度です。 取引先とデータで請求書・領収書などをやりとりした場合の保存⽅法も対象です。
 

 
 

はじめませんか、帳簿書類の電子化!!

・文章保存の負担軽減を図る点から、各税法で保存が義務図けられている帳簿書類は、システムの説明書類の備付け等の最低限の条件を満たせば、プリントアウトせずに、作成して電子データをそのまま保存することができます。

・国税の納税義務の適正な履行に資する一定の要件を満たした電子帳簿の備付け及び保存をすることで、過少申告加算税の軽減処置や所得税の青色申告控除(65万円)の適用を受けることができます。

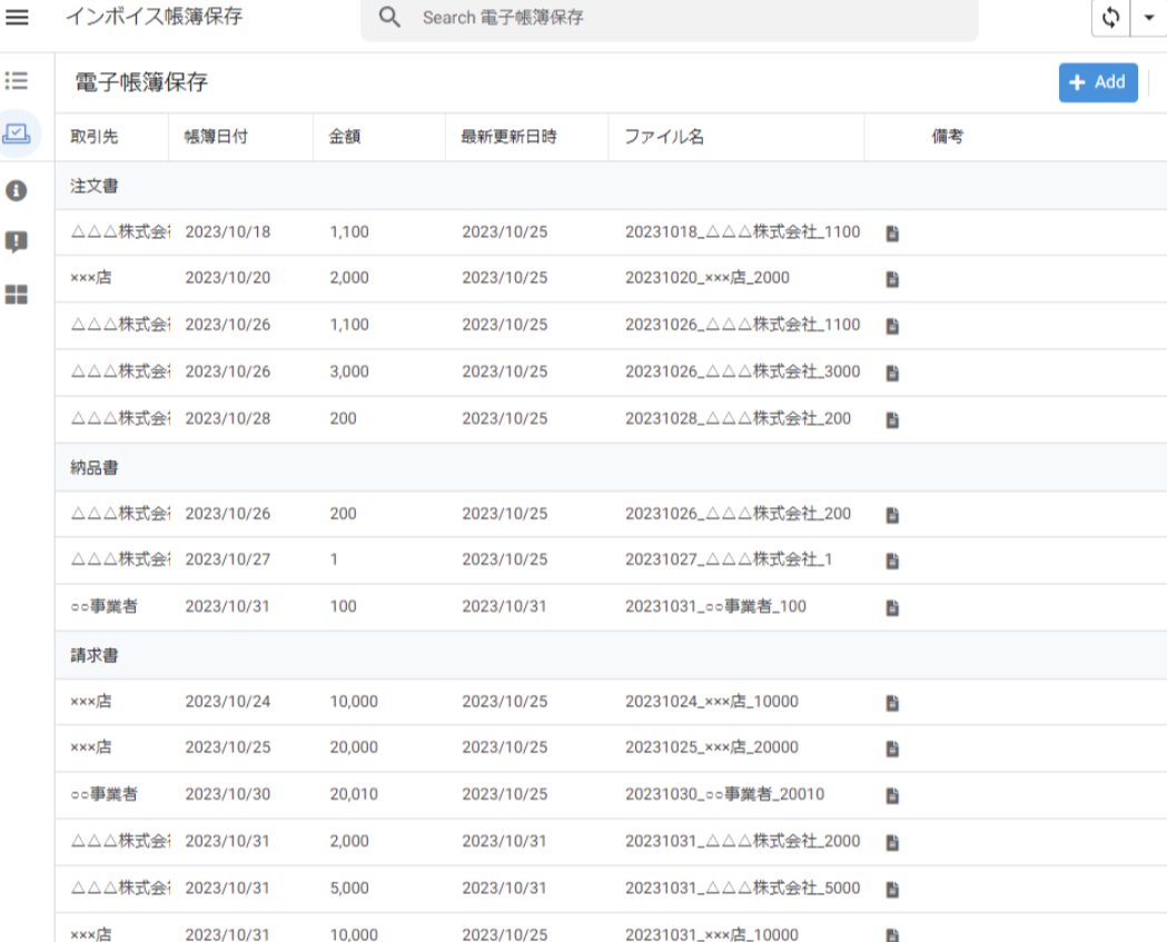
電子帳簿保存対応-登録画面

1. 帳簿日付   帳簿の日付を入力ください。
2. 帳簿種類   請求書・納品書・注文書・領収書
3. 取引先    記載の取引先選択ください。
4. 金額     帳簿に記載の金額を入力ください。
5.PDFファイル  ファイルアップしますので、パソコン&その場で携帯から写真を撮りアップできます。
6.備考     この書類についてのコメントを入力してください。
 

 

※ 帳簿種類・取引日付・取引先・取引金額 ごとに分類   一目でわかるように表示されています。

※ 帳簿種類ごとにフォルダー保存されている